欢迎来到开云手机站官方端网站登录入口-开云(中国)

您当前所在的位置:主页 > 产品中心 > 成套索具系列 >
COMPLETE SETS SERIES
成套索具系列

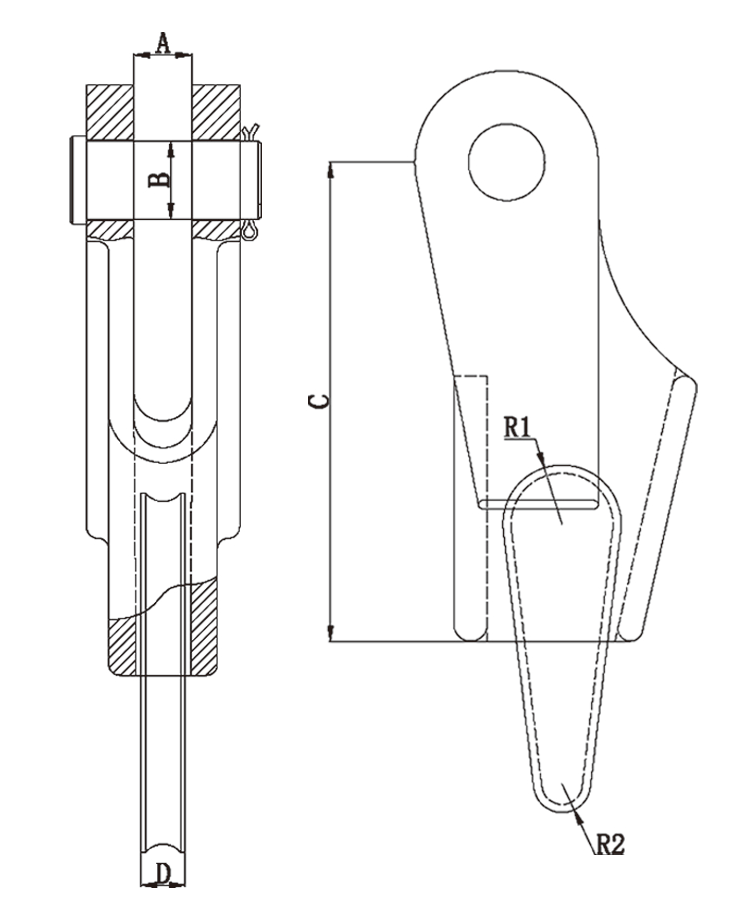
楔形接头

楔形接头

全国咨询热线:

更多联系方式
-产品详情- -产品参数-

产品参数

相关产品

创造客户价值 助力客户成功

开云手机站官方端网站登录入口-开云(中国)凭借着高新的技术、优异的品质及良好的服务赢得了客户点赞,在国内外众多企业大放异彩!

COPYRIGHT© 开云手机站官方端网站登录入口-开云(中国) ALL RIGHTS RESERVED